覆膜铁是指在冷轧镀锡/铬薄钢板/冷轧钢板/镀锌钢板表面,通过熔融法或胶黏法贴合一层高分子薄膜而成的一种兼有高分子材料和金属材料双重性能的复合材料。
根据薄膜与基材的贴合工艺区分,可为熔融覆膜铁和胶黏覆膜铁。所谓熔融覆膜铁,就是通过熔融法,在一定温度范围内,将特殊、专用的高分子聚酯薄膜(可彩印)直接贴合在冷轧薄钢板(镀锡板或镀铬板)上的一种新型复合材料。而胶黏覆膜铁是在相对较低的温度下,将薄膜与基板通过黏合剂进行贴合,由于需要使用黏合剂,在环境友好及成型工艺上的不足与包装的需求及发展存在偏差,正逐渐被熔融覆膜铁取代。
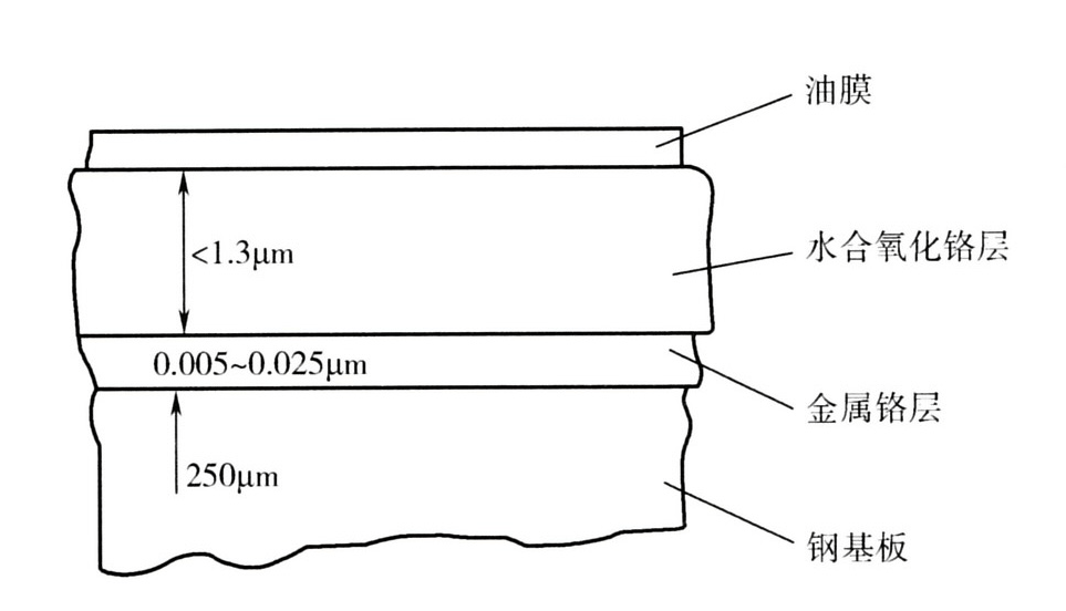
众所周知,镀锡板以其优异耐蚀性能和独特外观,成为食品饮料罐用材料的首选。随着食品饮料市场规模的大幅度增长,镀锡板的用量也相应增大,市场一度出现供不应求的局面,导致镀锡板价格的持续上涨。与此同时,也加速了稀缺昂贵资源锡的消耗,为了降低成本和节约有限的锡资源,科研工作者们加大了对镀铬板的研发和应用。镀铬板在成本方面较镀锡板有明显优势,且具有较好的表面附着力,但镀铬层的硬、脆问题一直制约着镀铬板在深冲罐领域中的应用。而覆膜铁材料的独特结构正好弥补了其先天缺陷,可被应用于各种金属罐领域。镀铬板材料一般由钢基板层、金属铬层、水合氧化铬层和油膜层组成,如图1所示。

作为罐用覆膜铁镀铬板,其表面涂油量、镀铬总量和水合氧化铬的表层形貌对覆膜铁的表面附着力有重要影响。对于加工变形量较大的底盖、空罐产品,一般采用镀铬铁基材(镀铬铁与薄膜通过熔融贴合工艺后附着力更加优良)。
覆膜铁生产所需的另一类重要材料高分子薄膜,其性能既需要具有热塑性贴合能力,又要与不同罐装内容物的理化性能兼容,以确保其对镀铬基板和内容物的良好阻隔,同时,在罐装各种内容物的货架期内须保持所包装食品的风味。同时,在食品高温蒸煮杀菌过程中不变色和 脱落,以保持高的湿润密闭性。在制罐成型过程中,能经受高温、高摩擦力和弯曲等复合力的作 用,具有较好的附着力。因此,对于覆膜铁的研制来说,膜的研制是其核心技术,覆膜铁常用的薄膜大多为PP(polypropylene,聚丙烯)和 PET(polyethylene terephthalate,聚对苯二甲酸乙二醇酯)。从颜色来看,所覆薄膜多透明膜、白膜、金膜,厚度一般为12~40ym。目前用于罐头包装用覆膜铁的薄膜以 PET 居多(厚度一般为12~20ym)。
由图2可知,罐用覆膜铁的结构有罐内壁和外壁之分,并且同一侧的薄膜层在覆膜后分为晶体层和非晶体层。处于外层的晶体层一般需具有较好的机械力学强度,主要起到阻隔作用;处于内层的非晶体层主要保证具有与镀铬板的良好黏附性能和抗腐蚀性能。随着热贴合温度的升高,非晶体层厚度相应增厚,膜与基板的附着力增强,但是非晶体层比例增加后,如果后续应用中有烘烤环节,其耐加工性会受较明显的减弱。因此,需要根据覆膜铁的具体用途确定覆膜工艺。

关于覆膜铁膜与基板的附着力机理,至今多数学者仍认同Tanaka 等提出的PET中C=0的O与TFS 表面-OH的H结合成氢键的分子力观点,其结如图3所示。

Masao Komai 等认,镀铬板铬水合氧化物层的增厚,一方面会增大比表面积,提升与膜的附着性,铬水氧化物层镀量在5~20mg/m’显示良好的密封性,20mg/m’以上的样品密封性变差,其原因是高分子 PET 黏度较高,有时会进不去表面很深的谷底而留下空隙,当水分、尘土聚集于凹陷的谷底时,将劣化膜与镀铬铁的表面黏结性能。所以应综合水合氧化铬含量与表面微观结构对覆膜铁黏附性能的影响。在覆膜铁罐张拉成型的过程中,镀铬板表面的粗糙度与板厚、罐径、模具的温度及模口圆角半径等因素密切相关。返回搜狐,查看更多
上一篇:保留价等于起拍价 下一篇:导热材料7.09%